
咨詢熱線0755-26993877
輥筒輸送機加裝積放功能的主要原因是為了提高生產線的靈活性和效率。積放功能可以在一定程度上實現物料的暫時存儲,減少生產線各個環節之間的沖突和瓶頸,確保各個工序之間的平穩銜接。

電動輥筒輸送機和無動力輥筒輸送機在成本和使用效率上各有優缺點。電動輥筒輸送機雖然初始投資較高,但在長時間運行中可實現更高的效率,適合大規模和高頻率的輸送任務。

輥道輸送機的輥筒間距應根據物料特性、運輸需求和設備承載能力科學設計,一般范圍在50mm至100mm之間。合理設計確保輸送效率的同時,也能延長設備使用壽命。

輥道輸送機憑借其堅固耐用、輸送平穩的特點,在汽車制造裝配線上發揮著重要作用。以下是一些典型應用案例,展示其在行業中的實際運用。

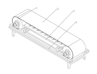
輥道輸送機和皮帶輸送機各有其優缺點,適用于不同的應用場景。選擇合適的輸送設備需根據物料特性、輸送距離、工作環境及經濟性等因素綜合考慮。通過合理的選擇,可以提高生產效率,優化物流管理。

管鏈輸送機工作原理以封閉管道為輸送通道,鏈條在管道內循環運行。鏈條上間隔安裝著刮板,當電機驅動鏈條運動時,刮板隨之移動。物料從進料口進入管道,刮板在運動過程中推動物料

管鏈輸送機的穩定運行對生產流程至關重要,恰當的日常維護和準確的鏈條張緊調整能延長設備壽命,保障其高效運作。科學合理的日常維護和正確的鏈條張緊操作,是保障管鏈輸送機平穩運行、延長使用壽命的關鍵。

高分子耐磨襯套對解決管鏈輸送機鏈條磨損嚴重問題確有實效。但在選擇與安裝時,需綜合考慮各方面因素,確保發揮其最大效能,保障管鏈輸送機穩定高效運行。

管鏈輸送機在工業物料輸送中起著重要作用,其輸送效率直接關系到生產效率。合理計算輸送量和控制鏈速與管徑的匹配,是確保設備高效運行的關鍵。

刮板輸送機作為一種常用的物料輸送設備,廣泛應用于煤礦、冶金、糧食等行業。為了確保其正常運行和延長使用壽命,安裝過程中的基本要求不容忽視。
